Trajan and Hadrian | Roman Architecture | Second edition

Trajan and Hadrian | Roman Architecture | Second edition
After the murder of Domitian in ad 96, an aged senator, M. Cocceius Nerva, was chosen as emperor. His chief building activity was to complete and inaugurate in his own name the forum begun by Domitian. Unable to control the army on his own he appointed M. Ulpius Traianus, the governor of Upper Germany, as his co-regent and under his protection ruled for another year.
On his death he was succeeded by Trajan (ad 98–117), who was born in Italica in southern Spain of an old Italo-Hispanic family. A soldier by profession, he had dreams of conquering the east like a second Alexander. Following his Danube campaigns of ad 102–103 and ad 105–107 he annexed Dacia, and as a result of his Parthian campaign of ad 114–116 he added Armenia and Mesopotamia to the Roman Empire.
Under Trajan, the Empire reached its greatest geographic extent and the money to finance his building projects was gold brought from Dacia. It is said that Trajan brought back so much that its value fell. From ad 107 onwards there was an orgy of spending in Rome and as many gladiators were used in Trajan’s games of ad 107 alone as in all the games during the principate of Augustus.
The years of experimenting with concrete were over. Mastery of design, endless supplies of coloured marbles, granite and porphyry, and seemingly limitless wealth resulted in buildings of a scale not dreamed of. Pliny the Younger, in an adulatory oration delivered to the senate in ad 100, exclaimed: ‘How great you are in public building!’ (Pliny the Younger, Pan. 51.3).
Trajan’s Baths dwarfed those built by Titus. Trajan’s new forum complex covered more than three times the area of the Forum of Augustus. This new age was epitomised by Trajan’s Column with its cool, factual reporting of Trajan’s Dacian campaigns. It proclaimed calm assurance of Roman superiority and security, and the style of its reliefs was classical, in keeping with the high promise of the new age. How these noble, self-confident figures contrast with the little men that swarm around the Arch of Septimius Severus. They are soldiers of Rome at the height of her power and glory.
![]()
Trajan’s architect was Apollodorus of Damascus, who probably designed one of Trajan’s most important projects, the great bath building in Rome, which dwarfed the adjacent Baths of Titus (Figure 8.1). It is one of the buildings in Rome specifically attributed to Apollodorus by Pausanias (5.12.6) and by Dio Cassius (69.4), if ‘gymnasium’ is taken to refer to the Baths.
It is also known that Apollodorus built the famous bridge over the river Danube (Procopius, de Aedificiis 4.6.12–13) and that he had a hand in completing the Circus Maximus. He also seems to have built a theatre in the Campus Martius, later demolished by Hadrian (SHA, Hadrian 9.1–2). The main bathing block of the Baths measured 190 × 212 metres and was set in an enclosure whose maximum dimensions were 330 × 315 metres.
This places the Baths of Trajan as the first of the giant bath buildings in both Rome and the provinces. The brickstamps show that the work was entirely Trajanic and dated to c. ad 104–109. What remained of Nero’s Domus Aurea was damaged by fire (ad 104) and the Esquiline wing was utilised as

part of the platform for the baths. Built hard against the hill its shell offered a useful extension of the hillside to support the vast bulk of Trajan’s building. The orientation of the new baths was different from that of the earlier Baths of Titus which followed the same orientation as the Domus Aurea. Its hot rooms faced SW instead of due south, probably to take advantage of the hot afternoon sun.
![]()
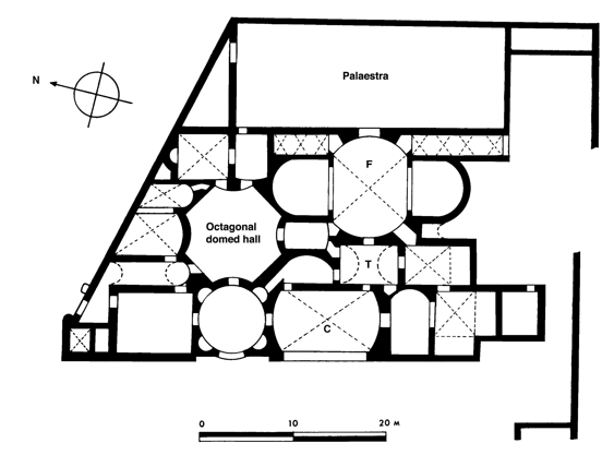
The baths set the pattern for the bath buildings of the later empire, except that the bathing block was joined to the perimeter wall on the NE side, whereas in later baths, such as those of Caracalla and Diocletian, it was completely free-standing. A vestibule on the NE side, flanked by changing rooms, led first to a large, almost square natatio (swimming pool), and then to the cold-room (frigidarium) covered with a triple cross-vault supported on eight columns.
It had the four plunges which were to become, in Rome at least, a standard feature of such baths. Each side of the frigidarium was a rectangular colonnaded palaestra. Next was a small warm room (tepidarium), whose principal function was to insulate the cold rooms from the hot rooms beyond. The last room in the bathing sequence was the hot-room (caldarium), a rectangular room with three apses, which projected out of the bathing block to gain best advantage of the afternoon sun.
At the sides of the tepidarium along the SW side of the block were the other hot rooms, for dry heat (laconica) or for sweating (sudatoria). By placing the frigidarium in the centre of the complex the architect was emphasising the two main axes of the block: one through the natatio, frigidarium, tepidarium and caldarium; the other running through the curved exedras flanking the palaestrae and the frigidarium.
![]()
Trajan built the last, largest and greatest of the imperial fora, still largely intact in ad 357 when the emperor, Constantius II, son of Constantine, stood in awe of it (Ammianus Marcellinus, 16.10.15–16). The complex consisted of an enormous colonnaded forum area with two lateral semicircular exedras, a transverse basilica with twin apses echoing the exedras of the forum, the Column of Trajan flanked by a Greek and a Latin library and finally the Temple of Deified Trajan (Figure 3.2).
The stepped cuttings in the lowest slopes of the Quirinal, required to create enough flat space for the forum, were hidden beneath a remarkable shopping complex built against the hillside NE of the forum. The whole forum/markets complex seems to have been an entirely Trajanic project, although Domitian had already begun cutting away the spur of hill which had impeded further development NW of the Forum of Augustus. Domitianic brickstamps were found in the enclosure wall behind the Temple of Venus Genetrix and in the tower-like building NW of the Forum of Augustus.
According to Aurelius Victor, Trajan’s Forum and Markets were actually begun under Domitian (de Caesaribus 13.5). However, the hemicycle of Trajan’s Market is dated by brickstamps to ad 104–110 and a coin of Nerva was found in the foundations of the Basilica Ulpia. Also, the architectural ornament of the complex shows signs of the Augustan revival, which was a feature of later Trajanic buildings and continued into the early part of Hadrian’s reign.
![]()
Access to the forum seems to have been from the Forum Augustum through an almost square, 25 × 27 metres, vestibule with columns running along three sides discovered in the excavations of 1998–2000.1 The same excavations have shown that the SE side of the forum of Trajan terminated not in a gently swelling curve as was previous conjectured, but in a rectilinear wall in three sections, the outer two oblique.
Between this wall and the vestibule was a second wall of similar shape creating a room of unknown purpose. According to Meneghini eight columns, 50 Roman feet (14.8 metres) high, stood in front of the central part of the wall facing the forum with four columns en ressault in front of each of the oblique walls. These columns would have been disproportionately higher than those of the SE and NW sides of the Forum, as has been pointed out by Packer.2
The vast open space of the forum, 110 × 85 metres, paved in large white marble slabs, was flanked on the SW and NE sides by porticoes raised on three steps of giallo antico, on which stood 27 fluted Corinthian columns of pavonazzetto, two of which have been re-erected. Pavonazzetto pilasters responded to them on the inner wall and the floors of the porticoes were paved with pavonazzetto squares bordered with giallo antico strips aligned with the columns.
In the white Carrara marble attic, stood colossal statues of Dacian prisoners framing busts in elaborately decorated shields (imagines clipeatae). Above were written the words ex manubiis (from the spoils of victory) and the roofline was adorned with gilded statues of horses and representations of military standards (Gellius, Attic Nights 13.25.1).
![]()
Only the NE of the twin hemicycles has been uncovered. It seems to have had two superimposed Corinthian orders internally and it rose above the height of the porticoes to allow it to be lit by large square windows. On the forum side the hemicycles were capped by pediments. The foundations for the famous equestrian statue of Trajan were found in the 1998–2000 excavations, not in the centre of the open space between the two exedras as previously supposed, but about 20 metres to the SE.
It is calculated that the overall height of the statue including the base was between 10 and 12 metres. It is also conjectured that the horse faced towards the basilica, leading to the unfortunate conclusion that the first thing which confronted the visitor upon entering the forum was the rear of the horse.
![]()
The Basilica Ulpia closed the NW side of this open space, its twin apses projecting beyond the line of the forum and echoing those of the Forum. It was five steps higher than the level of the Forum, and three projecting porches, the central one four columns wide and the lateral ones two, gave access to the basilica. Above were high attics with Dacian prisoners framing large low-relief panels showing heaps of arms.
According to coin evidence there were bronze statues above the attics, a quadriga (four-horse chariot) in the middle and bigas (twohorse chariots) at the sides. It is not clear whether the ground floor was walled or open to the forum. The basilica measured 176.28 metres (600 Roman feet) long, including the twin apses, × 58.76 (200 Roman feet) wide. It consisted of a nave, 88.14 metres (300 Roman feet) long × 24.97 metres (85 Roman feet) wide, and double aisles on all four sides.
Two storeys of columns divided the nave and the aisles; the columns of the lower storey, of grey Mons Claudianus granite, were c. 10.7 metres (36 Roman feet) high including the Carrara marble capitals, with an entablature c. 3 metres (10 Roman feet) high; the upper columns had cipollino shafts and were c. 9 metres (30 Roman feet) high with an entablature c. 2.1 metres (7 Roman feet) high.
According to Packer the upper order had Ionic capitals and the interior height of the basilica was 85 Roman feet (25.16 metres).3 Meneghini on the other hand follows Amici in restoring a Corinthian upper order.4 Amici allows a further 10 metres for the clerestory, bringing the total internal height to 34.8 metres (117 Roman feet).
Allowing a height of c. 6 metres (c. 20 Roman feet) for the wooden roof the total overall height of the basilica would have been approximately 40.8 metres (c. 137 Roman feet), less than the overall height of Trajan’s Column including the statue of Trajan at the top, which was 44.07 metres high, according to Packer.
One would expect the basilica to have been somewhat lower than Amici’s estimate so that the figure of Trajan would have been visible to anyone entering the forum. The apses, each with a radius of 22 metres (75 Roman feet), were roofed not with domes as earlier generations of scholars have supposed, but with conical timbertruss roofs like those of the hemicycles.
The roofing of the main nave of the Basilica Ulpia is more of a problem. Packer’s reconstruction, which he bases on coin evidence, has no upper aisles and his upper order of nave columns directly support a coffered ceiling under a timber truss roof, bringing the total height of his basilica to exactly 100 Roman feet (29.60 metres).
As the columns are laterally unsupported by flanking aisles and simply project into the sky, the roof appears unstable.5 Amici, on the other hand, gives the aisles an upper storey and restores a conventional clerestory above the double order of columns. However, the height of his restored basilica means that the top of the Column would have been invisible from the forum.
![]()
Behind the basilica, on the main axis of the Forum, stands Trajan’s Column itself (Figure 8.2), surrounded on three sides by a rectangular peristyle, measuring 25 × 20.20 metres, with pavonazzetto Corinthian columns the same size as the Corinthian porticoes on the SW and NE sides of the Forum. The Column stands on a basement, 5.29 metres high, excluding the plinth under the torus.
The overall height of the Column proper including its torus, plinth and capital, but excluding the colossal statue of Trajan at the top and its cylindrical plinth, is 29.78 metres (100.61 Roman feet). It should have been exactly 100 Roman feet high, an anomaly explicable as a modification made by Apollodorus, after work had begun on the blocks of Carrara marble, in order to overcome a problem with the internal staircase.6
The cylindrical statue plinth is 3.33 metres high and the statue of Trajan, which disappeared in the Middle Ages and was replaced in 1587 by the present bronze statue of St. Peter, is estimated to have been c. 4.5–6 metres (15–20 Roman feet) high. This makes the overall height of the Column, including the statue and its base, about 42.90–44.40 metres (144.5–149.5 Roman feet) high.
The outside of the column is adorned with a continuous spiral of low-relief sculpture, 20 metres long. The sculptures are designed to be read like a scroll, starting at the bottom with the Roman army crossing the Danube and finishing at the top with the triumph of Trajan over the Dacians. The sculptures are in effect a visual record of the campaign,

Figure 8.2 Rome, Trajan’s Column.
the sculptural equivalent of war notebooks (commentarii) of the kind Julius Caesar wrote to record his campaign in Gaul. The column is constructed of 21 horizontally cut drums of Carrara marble, which weigh 32 tonnes on average. The jointing, which does not correspond to the windings of the spiral, is so carefully managed that one is not immediately aware that half of the scenes had to be cut from two separate blocks of marble.
This means that the sculpting was done after the column was erected and may well have continued into Hadrianic times.7 The column rests on a podium, 6.155 metres high, which acted as the tomb chamber where the golden urns containing the ashes of Trajan and his wife Plotina were probably placed.
Externally the podium is decorated with spoils of war in relief sculpture and a doorway gives access to a spiral staircase which winds its way up inside the column, lit by small rectangular holes which can be seen at intervals. Over the doorway an inscription recorded that the Column marked the height of the hill that was cut away ‘for such great works’.
This was taken to mean that the column marked the place where the hill was cut away (Dio, 68.16.3), but early 20th century excavations revealed a road near the bottom of the column, suggesting that the Column simply indicates the height of the clearance works in general.
![]()
The Column was flanked on the SW and NE sides by the libraries, both 20 × 32 metres. Each library was a rectangular room divided internally into two storeys by Corinthian columns with walls lined with niches for the books or scrolls. Perhaps the roofs of the libraries were accessible as viewing galleries for the upper part of the Column whose details are invisible from ground level. The Column of Trajan inspired the creation of the Column of Antoninus Pius, a plain granite shaft with a sculpted base, and the sculpted Column of Marcus
Aurelius. Both the Column of Trajan and that of Marcus Aurelius have been described as ‘wonders of heavy engineering.’8 Constantine erected a porphyry column, 35 metres high, at Constantinople in ad 330 with a statue of himself as Apollo on top. Theodosius (c. ad 393) and Arcadius (ad 402) erected sculpted columns at Constantinople.
Closer to our own time, two sculpted columns, 40 metres high, were built at the sides of the Karlskirche of Vienna in 1737, and a bronze column, modelled on the Column of Trajan, was erected in Place Vendôme in Paris in honour of Napoleon (1810, rebuilt 1874). Plain fluted columns were erected in Dublin, the Doric Nelson’s Pillar, 40.8 metres high (1809), and in London, the Corinthian Nelson’s Column, 51.59 metres high (1840–1843).
Most reconstructions have the columnar court enclosing the Column of Trajan as a vestibule to the Temple of Trajan and Plotina, which is usually reconstructed as a massive octastyle temple with grey granite columns 17.7 metres (60 Roman feet) high. The upper half of one of these, along with its capital, 2.08 metres high, was found in the 19th century and now lies behind the Column.
However, recent excavations under the 16th century Palazzo Valentini are said to have revealed nothing which can be interpreted as the remains of such a temple. As a result, some scholars have reconstructed a colossal octastyle porch of grey granite columns leading into the library courtyard from the NW, taking the column/library complex to be the real Temple of Deified Trajan.9 A porch of such dimensions is not at all likely, but for the time being all that we can be certain of is that the temple, whatever form it took, bore the name of Hadrian as builder (SHA, Hadrian 19.9).
The layout of the Forum with the basilica at the far end lying across the main axis was later adopted, for example in the Severan Forum of Lepcis Magna (Figure 9.13). As Trajan was a soldier-emperor, it has been suggested that Trajan’s Forum may have been based upon the principia or central administrative area of a camp.10 In a camp the central square of the principia was flanked by a basilica beyond which were the rooms where the military archives, the accounts and the legionary standards were kept.
The Basilica Ulpia occupies a similar position to the basilica of a principia, and the column and libraries have a similar relationship to the standard and archive rooms of a camp. Seen in this light the Forum complex can be seen not only as the greatest of the Roman fora, but as a singularly appropriate monument to commemorate the military achievements of the emperor.
However it has been pointed out that as early as the first century bc many cities in northern Italy, Gaul and Germany had a so-called ‘tripartite forum’ with forum, basilica and temple built as a single complex over three city blocks (Vitruvius, de Arch. 5.1). This in many ways foreshadows the layout of the Forum of Trajan.11
![]()
The Markets of Trajan, although related to the Forum, formed a quite separate complex (Figures 8.3 and 8.4). The Romans probably regarded the markets simply as utilitarian buildings, but they are most ingenious in terms of structure and engineering and as such are a good example of Roman skill in turning the problems presented by a difficult site to entirely practical use.
Behind the NE exedra of the Forum is a large hemicycle of shops, entirely built of brick-faced concrete. It is visually shut off from the forum by a high peperino wall, meaning that it was never intended to be seen as it is today. That probably explains the low relief decoration of the brick façade which springs into sharp relief when seen at close quarters.
The ground floor of the hemicycle contains 11 extremely shallow barrel-vaulted shops. Externally a travertine-clad doorway with a small rectangular window above formed the façade of each shop. It may be noted that the paved street which runs around the hemicycle becomes a little wider towards the middle as the hemicycle and the exedra of the Forum are struck from different centres (Figure 3.2).
Staircases at the ends of the hemicycle lead up to the middle storey, where a barrel-vaulted corridor, lit by 26 round-headed windows, gives access to ten shops, each considerably deeper than those on the ground floor. The brick

![Figure 8.4 Rome, Markets of Trajan, c. ad 100–112: axonometric view. Centre foreground hemicycle of Trajan’s Forum; left foreground, one end of the Basilica Ulpia. (After A. Boethius and J. B. Ward Perkins, Etruscan and Roman Architecture [Harmondsworth: Penguin, 1970], figure 96.)](/wp-content/uploads/2022/07/04-3.png)
The ten shops of the top floor opened onto the Via Biberatica behind, a road which runs gently downhill from south to north. Therefore the floor levels of the shops of the top floor become progressively lower from south to north, which means that the barrel-vaults of the shops of the middle floor below also become progressively lower. However this is so skillfully handled that it is seldom noticed. The hemicycle is flanked at each side by a big half-domed hall, its curve turned against the hillside to take the thrust. Behind the NW hall is another half-domed hall at a higher level. Such halls were used as schools or auditoria, at least later in the Empire.
On the NE side of Via Biberatica, opposite the hemicycle, was a further complex, four to five storeys high. This building was not divided into shops as was the hemicycle. Instead there were groups of rooms, mostly intercommunicating, which suggests that the block may have been used for the administration of the complex as a whole and perhaps for the storage of some perishable items, such as foodstuffs. Some of the rooms had wall niches which suggests that they contained records.
Via Biberatica continues northwards and stops abruptly against the foundations of the modern Via Quattro Novembre. The last section of it ran straight and is extremely well-preserved. The roadway was paved with basalt and on each side ran a pavement of travertine blocks (Figure 8.5). There were shops on each side, the ground floor ones with slightly projecting balconies above them, as at Ostia. The shops on the west side form part of a larger block which abuts onto the hemicycle. The shops on the

Figure 8.5 Rome, Markets of Trajan, the street later called Via Biberatica with the main market hall to the left.
Trajan and Hadrian Part | Roman Architecture | Second edition

ground floor open onto the street, and behind them further shops open into a curved corridor which ran around the upper half-domed hall on the NW side of the large hemicycle. On the level below them are further shops which are lit by light-wells over the extrados of the halfdome, a system analogous to the octagonal room of Nero’s Domus Aurea. As the half-domed room itself was surrounded on all sides by buildings it can have been lit only by the oculus.
The shops on the east side of Via Biberatica were three storeys high, the upper two belonging to a market hall, accessible by a staircase off Via Biberatica (Figure 8.6). On the lower floor of the hall two rows of six barrel-vaulted shops faced each other across a central concourse, an arrangement reminiscent of modern shopping arcades. Above these were two further rows of six shops, once again barrel-vaulted, but shallower because of the space taken up by the access corridor.
The roofing of the central space, by means of six cross-vaults, is particularly interesting, because the cross-vaults were not contiguous with the barrel-vaults of the six rooms each side of the upper part of the hall. Instead, a space was left between them to light the access corridors and shops of the upper storey, as well as providing extra lighting to the lower floor of the hall. To stabilise the cross-vaults two rows of seven flying buttresses ran between the springings of the cross-vaults and the barrel-vaults of the shops. This is another example of lighting achieved by light-wells over or near the extrados of a vault.
As Rome became an increasingly important administrative hub of the Empire, so the functions of the city centre multiplied. The new Imperial fora usurped land which had hitherto been used for trade and commerce. The Temple of Peace, for example, was built on the site of the old macellum of 179 bc once its marketing activities had been transferred away from

the civic centre. The creation of Trajan’s Markets was a further step in removing from the old Forum and its surrounding area traditional commercial and business activities which were now inappropriate to its new dignity as the civic focus of the Roman Empire. It has been calculated that the complex gave Rome some 150 new shops and offices in an environment noticeably similar to modern planned shopping centres.
In conjunction with his forum Trajan began renovating the Forum Julium and reconstructed the Temple of Venus Genetrix, which was inaugurated in ad 113 (Figures 3.2 and 3.3). The barrel-vaults of some rooms on the SW side of the Forum were demolished and new barrel-vaults built to support a semicircular latrine above them. The basilica Argentaria (of the bankers), which was built to the NW of the latrine at Forum level was divided into three naves by brick piers. It followed the line of the SW portico of the Forum Julium and new shops were added above it. Architecturally it provided a link between the Forum Julium and the SW hemicycle of the Forum of Trajan.
![]()
Trajan showed his concern for the economy of Rome and Italy in several other respects. His harbour works at Ostia (Figure 6.16) and the new markets in Rome reflected the need to protect Rome’s grain supply and the distribution of the ever-increasing flood of goods and services.
Trajan therefore involved himself in improving communications throughout Italy. Milestones record repairs to the Via Sublacensis (ad 103–105), Latina (ad 105), Aemilia (ad 100), Puteolana (ad 109), and Salaria (ad 110). Improvements were also made to the Via Clodia and the Via Cassia, and he continued the repairs to the Via Appia which Nerva had begun.
A new roadbed was built where the road crossed the Pontine marshes. In ad 112 he created a new coastal route for it at Terracina, by cutting away Pisco Montano to a depth of 120 Roman feet (36 metres), as an inscription records. In ad 109 he began a new road, called the Via Traiana (begun ad 109) from Beneventum (Benevento) to Brundisium (Brindisi), the port for ships bound for the eastern Mediterranean.
It offered an alternative route to the old Via Appia, saving a good day’s journey (Strabo 6.3.7). To mark the beginning of the new road a triumphal arch was erected at Benevento (ad 117), strikingly similar in design and scale to the earlier Arch of Titus in Rome, so similar in fact that some have thought the latter Trajanic (Figure 8.7). The Arch of Trajan at Ancona was of similar type but with somewhat taller proportions.
The Benevento arch is better preserved than the Arch of Titus because all its sculptural panels survive. Those facing the city referred to Trajan’s work in Italy, while those facing the countryside praised his good works in the provinces. The terminus of the Via Traiana, an eminence overlooking the harbour, was marked by two tall columns of white marble, one of which survives intact.
Its capital is elaborately carved with the heads of Jupiter, Mars, Neptune and Minerva on its four sides. Seen from the road the two columns framed the harbour mouth through which ships sailed for Greece and beyond, carrying travellers on the next leg of their journey.
![]()
Trajan had increased the empire to its greatest geographical extent. Hadrian (ad 117– 138) was aware that the huge inland empire he had inherited would not only cause security problems, but change the whole nature of the Roman empire from a coastal entity to a continental one. His ideal was a secure, self-sufficient empire where peace, prosperity and security reigned.
Therefore soon after his succession he relinquished some of Trajan’s eastern conquests and was with difficulty persuaded to retain Dacia, where romanisation was already well under way. Hadrian’s reign was peaceful, except for the continued revolt in ad 115–117 of the Jews of the diaspora (Cyrenaica, Egypt, Mesopotamia and Cyprus), which was repressed with great loss of life.
Another uprising, called the Bar Kokhba revolt (ad 132–136) was also crushed. Hadrian attempted to completely destroy Judaism, banning the Torah, replacing Judaea with Syria Palaestina and re-founding Jerusalem as Aelia Capitolina.

Figure 8.7 Beneventum (Benevento), Arch of Trajan, ad 117, side facing the city.
Hadrian made no concealment of his admiration for the Greeks, whom he favoured more than the Romans. Encouraged by his Greek advisor, Polemo of Laodicea, he aped Greek fashions and was the first in a long line of Roman emperors to wear a beard. Countless statues of the Bithynian boy, Antinous, who was constantly in Hadrian’s company, flooded the empire, and when he died prematurely in ad 130 Hadrian had him deified. Although he endowed the capital with new buildings he showed just as great an interest in the provinces.
He spent almost half his reign travelling throughout the empire, a fact which caused resentment in Rome. From ad 121–125 and again from ad 128–133 he was out of Rome visiting Gaul, Germany, Raetia, Noricum, Britain, Spain and Morocco. In the east he visited Greece, Asia Minor, Syria and Egypt. In ad 134–135 he spent time in Palestine. All over the empire his presence is attested by bridges, roads, baths and other public monuments; whole cities were rebuilt and new ones founded. Rome, which had for so long imported works of art, craftsmen and wealth from the provinces, began to export its own art and as a result provincial cities grew in wealth, splendour and power.
![]()
The Pantheon (Figure 8.8), one of the great masterpieces of Roman architecture, is exceptionally well-preserved, enabling us to experience its effects at first hand. The building has survived in such excellent condition because in ad 609 the Byzantine emperor, Phocas, gave the building to Pope Boniface IV, who converted it into the church of St. Maria ad Martyres.
That is not to say that the building has not been much damaged over the ages. The mutilation began in ad 663 when the Byzantine emperor Constans II removed the bronze tiles of the dome and sent them to Constantinople. The pediment nowadays lacks any form of decoration, although a study of the fixing holes has revealed that the fastigium (pedimental) sculpture

Figure 8.8 Rome, Pantheon, the porch, ad 118–125.
was an imperial eagle with outspread wings within a ribboned wreath. Even the bronze letters of the inscription on the façade are late 19th century replacements of the original gilt bronze letters, which had long since been removed. In 1626 the Barberini Pope, Urban VIII (1623–1644), replaced the three left-hand (east) grey granite columns of the porch, which had been damaged in the Middle Ages, with shafts of pink Aswan granite removed from other ancient buildings.
At the same time, he removed the bronze girders of the portico which weighed 200 tonnes and melted them down to make cannon for Castel S. Angelo. The facing of white stucco on the exterior of the rotunda has also disappeared. Even the bronze doors, although ancient, are far too small and are therefore not the originals.
![]()
The Pantheon was erected early in Hadrian’s reign, as is shown by brickstamps which fix its date to between ad 118–125. Agrippa built the first Pantheon in 27 bc, but it was a victim of the fire of ad 80 and was rebuilt by Domitian. This building in turn was struck by lightning and burned at the time of Trajan (Orosius, 7.12.5).
However, the inscription over the portico commemorates the original builder, Agrippa, in accordance with Hadrian’s policy of not putting his name on any monument except the temple of his adoptive father, Trajan (SHA, Hadrian 19.9). There was a long narrow forecourt in front of Hadrian’s building, lower than the present piazza.
A broad flight of four yellow Numidian marble steps, 1.32 metres high, now buried, led up to the pronaos (porch), which measured 34.20 × 15.632 metres. It is likely that Hadrian built the traditional columnar porch in order to preserve visual continuity between the new building and the old, while at the same time concealing the enormous domed interior until the last moment.
The porch is octastyle, with four rows of two granite columns behind creating three aisles (Figures 8.8 and 8.9). The central aisle led to the main door and the side aisles each terminated in an apse in which stood statues of Augustus and Agrippa. Even today one is amazed at entering a vast domed room when the porch had led one to expect a traditional cella.

An oddity of the intermediate block behind the porch is the second, higher pediment behind the main one (Figure 8.8). As the second pediment is exactly 10 Roman feet above the main pediment and the columns of the porch are 50 Roman feet (14.8 metres) high, it has been argued that the porch was originally designed for 60-foot (17.76 metres) columns which would have produced a more harmonious result (Figure 8.10).12
Perhaps columns of this height were not available at the time or perhaps available supplies had been used by Hadrian for the Temple of Trajan as an act of piety. Therefore the present 50-foot columns were used instead, a plausible suggestion as the grey granite columns came from the quarry of Mons Claudianus, which was difficult of access and deep in the eastern desert of Egypt. It is about as far from Rome as it was possible to go in the Roman Empire.
The proportions of the interior were based upon simple, solid geometry. The internal diameter and height of the rotunda are the same, c. 44.40 metres (150 Roman feet), and the dome springs 75 Roman feet above the pavement, which means that a sphere of the same diameter as the rotunda would exactly fit inside the building. The walls of the drum were founded upon a great ring of concrete, 7.30 metres wide and 4.5 metres deep.
The drum has three external cornices which divide it into three horizontal zones (levels 1, 2 and 3). Internally the drum has only two cornices, the lower above the columns and pilasters of the exedras, and the upper above the window zone at the point where the dome springs. Externally the dome appears to spring from the top of level 3 (Figure 8.9), giving it a somewhat squat appearance when seen from a distance.
The drum, of brick-faced concrete, has walls over 6 metres thick, but the envelope of the dome diminishes to 1.54 metres at the top (Figure 8.9). The caementa (filling stones) were
![Figure 8.10 Rome, Pantheon, porch as planned: diagram. (After M. Wilson Jones, Principles of Roman Architecture. [New Haven, CT: Yale University Press, 2000], figure 10.12.)](/wp-content/uploads/2022/07/10-2.png)
graded so that travertine was used in the foundations, tufa and travertine in the lower part of the drum, tufa and brick higher up, brick at the base of the dome, tufa and brick higher up, and pumice and volcanic scoria in the highest part of the dome. According to Robert Mark, ‘the light aggregates used in the dome were more effective in reducing stress than the coffering whose effect was negligible’.13
The dome has five rows of 28 stepped coffers, which, according to Renaissance drawings, were decorated with relief stucco mouldings and bronze rosettes, probably gilded (Figure 8.11). The dome has no crown, but terminates in a circular opening (oculus) 8.9 metres (30 Roman feet) across. The oculus is extremely efficient in lighting the room even though it represents less than 4% of the floor area, but it also admits rain which is why the floor is slightly crowned (it is 0.30 metre higher in the middle than at the edges).
The floor was paved in 10 foot square panels divided by 3-foot-wide strips of pavonazzetto. The panels were filled alternately with seven-foot squares of pavonazzetto bordered with porphyry, and red porphyry or grey granite roundels bordered with giallo antico. There is no evidence of any ribbing in the dome, which means that it would have had to be supported on a full timber scaffolding until the whole structure had set. The amount of timber needed for this operation goes a long way to explaining why the Romans later began to adopt tile-clad vaults and ribbing.
The interior skilfully conceals the elaborate system of support and consolidation, which is better seen on the outside of the building. Looking at level 2, what seem to be arches are in fact the ends of vaults built of radially laid bipedales to control the loads imposed by the dome above (Figure 8.12). They extend the whole way through the drum of the building and correspond to the eight interior exedras. It will be observed that a second set of arches span


MacDonald, The Architecture of the Roman Empire 1, plate 106.)
the space between the eight radial vaults. These are arches, not vaults, and there is a second set of them on the inner side of the drum, which form the heads of the ‘windows’ in the upper part of the interior wall. There is another set of eight vaults in level 3, which internally correspond to the lowest two rows of coffers of the dome.
Within the piers between the interior exedras, behind the aedicules, are eight semicircular rooms covered with half-domes, facing outwards and repeated on all three levels (Figure 8.9). The object of all these cavities was doubtless to help the concrete dry out evenly and to distribute settlement cracks.
![]()
In plan the interior consists of 16 segments, one formed by the entrance doorway and another by the big, round-headed apse opposite (Figure 8.9). Two curved exedras face each other across the building, and between are four square ones. In each of these six exedras is a pair of giallo antico Corinthian columns framed by pilasters. The other eight segments are the aedicules capped with triangular and segmental pediments.
The columns in the exedras carry a horizontal entablature which runs around the whole interior, breaking off only at the doorway and the apse opposite, both of which carry arches which break into the window zone above. The upper part of the wall is punctuated by 14 blind windows, eight of which are structurally the product of the segmental arches spanning the space between the eight vaults.
Originally the windows stood on a high socle of Phrygian purple with four slender Corinthian pilasters of red porphyry between. These were removed in 1747 and replaced by the present pedimented windows alternating with plain panels of marble. A portion of the original decoration, known from prints, has been reconstructed to the right of the apse.
![]()
There has been considerable speculation, especially recently, as to what the building was for. It was Dio Cassius (53.27.2) who first speculated that the name, Pantheon (all the gods), comes from the many statues of divinities placed around the building or the fact that the dome resembles the heavens.
Many scholars have promoted a cosmic explanation of the building; others find the solution in mathematics, regarding the spatial relationship between drum and cupola as Archimedean. Furthermore, the number of coffers in the dome is 28 × 5 and since 28 is a perfect number, because it is the sum of its divisors, the dome can be regarded as having attained neo-Pythagorean perfection.
Whatever explanation is given it is clear that the Hadrianic Pantheon was not a temple dedicated to a deity. Ancient authors never refer to the Hadrianic Pantheon as a temple and even the inscription does not mention any deity. Dio Cassius (69.7.1) speaks of Hadrian holding audiences there and no doubt the emperor liked to appear there surrounded by statues of the gods.
The Pantheon has more in common with the halls of secular structures than to sacred ones, and it is perhaps best to regard the Pantheon as an imperial hall. From Choisy onwards there has been much discussion as to whether Apollodorus of Damascus was the architect of the Pantheon. Some now believe that the Pantheon was begun by Trajan and finished early in Hadrian’s reign.
That is to say, before Hadrian’s break with Apollodorus, after which a new architectural style appeared in Rome, akin to that of Asia Minor. Furthermore, the Pantheon uses the kind of neo-Augustan ornament found in the Forum of Trajan which was favoured by Apollodorus.
![]()
In the 17th century Pope Urban VIII regarded the Pantheon as the most celebrated edifice in the whole world. Certainly the Pantheon has been one of the most influential ancient buildings throughout the ages. A similar but smaller version was built at Ostia, the Round Temple near the forum (ad 230–240).
Two early fourth century ad buildings, the ‘Tor degli Schiavi’ on Via Praenestina and the Tomb of Romulus on the Via Appia Antica, have respectively a tetrastyle and a hexastyle porch attached to a domed rotunda. Both have the neat unity between rotunda and porch, which may have been intended in the Pantheon.
The Pantheon has inspired architects such as Palladio in the 16th century (the Villa Rotunda at Vicenza and the Maser chapel), Bernini in the 17th century (St. Maria dell’Assunzione at Ariccia), Lord Burlington in the 18th century (Chiswick House) and Thomas Jefferson in the 19th century (Monticello, and the Library at the University of Virginia).
James Wyatt built a Pantheon in London (1770) and Canova a Tempio at Possagno (1819 onwards), while the church of St. Mary at Mosta in Malta (1833–1860) has what is still the largest masonry dome in the world. Hadrian’s most extravagant and expensive project was the villa he built near Tivoli. This vast complex stretched for a kilometre on an elevated plateau to the SW of the town (Figure 8.13).
Although the villa is comparatively low-lying it still commands a view to Rome, so that the dome of St. Peter’s is just visible on the horizon. Hadrian began work on the project early in his reign, about ad 118, starting from a moderate-sized Republican villa which may have been owned by the Empress, Sabina.
As the plan expanded he began to incorporate into it buildings which echoed those of Greece and the east (SHA, Hadrian 26.5) so that, walking in the Stoa Poikile of the Athenian Agora, along the Canopus canal lined with copies of the Caryatids of the Erechtheum, or through the Vale of Tempe, he could re-live his travels.
![]()
It is not clear how much of this imperial Xanadu was planned when work began, although the site chosen suggests that the original scheme was an ambitious one. Some of the original fabric of the Republican villa was reused, the most conspicuous survivals being the nymphaeum on the NW side of the courtyard of the ‘libraries’ and the cryptoporticus which opened off the SE side.
To the NE of the courtyard was a complex which has been identified as a guest wing for visitors. It consisted of a long paved corridor with five rooms opening off each side, and a large, perhaps communal, reception room at the end. Each of the ten rooms

had three recesses, presumably to take three couches or beds. The pavements in each case were of black and white mosaic, plain where the couches or beds would have been with a more elaborate geometric pattern in the middle. To the SE of the courtyard on a higher level was a large complex of nymphaea and courtyards, including the well-known courtyard of the Doric piers. The fluted white-marble piers, rectangular in plan, supported a barrel-vault which ran around all four sides of the open courtyard.
Starting from the original villa the architect began to build a series of loosely related complexes, each following a different alignment dictated by the terrain (Figure 8.13). The main parts of the villa to be discussed are (1) the Vestibule, (2) the ‘Poikile’, (3) the Island Villa, (4) Piazza d’Oro, (5) the Triclinium/ Hippodrome and upper rooms, (6) the Small Baths, (7) the Large Baths, (8) the Canopus/Serapeum and (9) the peripheral buildings. The Vestibule was approached from the NW by a road which led from a branch of the Via Tiburtina; another road ran parallel to it for vehicles leaving the Villa.
Visitors would have alighted and climbed a broad staircase up to the vestibule which consisted of a large peristyle, square on three sides and apsidal on the fourth with a formal garden in the middle. To the west was a courtyard with a temple at the end and to the east a great hall on the same axis as the Canopus/Serapeum. Beyond that was a curved peristyle between the Large and Small Baths. On a lower level subterranean corridors led to the praefurnia (furnaces) of the Large and Small Baths and the ‘100 small rooms’ of the ‘Poikile’.
Trajan and Hadrian | Roman Architecture | Second edition

The ‘Poikile’ was a huge open space measuring 232 × 97 meters with a large pool, 107 × 26 meters, in the middle. Because the ground sloped away to the SW the site was artificially leveled by a terrace of earth buttressed by rows of concrete barrel vaults. These provided the ‘100 small rooms’ probably used to house domestic staff. The two short ends of the peristyle curved gently outwards and all four sides were lined with colonnades.
On the north side, there was a double colonnade with a wall between and turning points at the two short ends. This feature and the fact that the wall was a stade or 600 feet (180 meters) long suggests that this side of the building imitated a dromos (running track) common in Greek cities, e.g. the Stoa of Hercules and Hermes in Cyrene. The layout of the complex with a pool in the center of a large open space suggests that it might well have been an imitation of the Lyceum or Academy in Athens, rather than the Stoa Poikile (Painted Stoa) at Athens.
![]()
Apart from the Herodium near Jerusalem, built between 25 and 15 bc, the Island Villa is the only other domestic building set within a circle. With an overall diameter of almost exactly 150 Roman feet (44.4 meters), it formed a kind of ‘Petit Trianon’ where the emperor could escape the ceremony of his huge abode (Figure 8.14). Circles dominate the planning. The villa itself was circular and surrounded by a moat around which ran an annular colonnaded passageway (Figure 8.15).
The white columns of this passage must have sparkled in the sunlight reflected by the water of the moat and contrasted with the shaded passage itself. Semicircles divided the circular villa itself into four suites of rooms, accessible from the corridors around a central peristyle courtyard with concave sides which were a product of the geometry of the complex.
Two bridges across the north side of the moat led to a semicircular vestibule opening into one of the four corridors around the central courtyard. To the east were two cubicula with a tiny semicircular latrine behind one of them, accessible from the vestibule. Opposite the vestibule on the south side of the central courtyard was a dining room with smaller rooms on each side.
There were small semicircular latrines in the angles of the two smaller rooms. On the west side was a small bathing suit complete with a heating system and a small cold plunge whose bottom was below the level of the moat outside. The spatial and light effects of this tiny architectural jewel must have been splendid. This must have been one of the most architecturally complete and satisfying delights of the whole villa.


Piazza d’Oro was a richly decorated peristyle court accessible through an octagonal vestibule with round-headed niches in four of its sides (Figure 8.16). The vestibule was covered by an eight-sided umbrella dome, presumably one of the pumpkins for which Apollodorus of Damascus criticized Hadrian (Dio, 69.4.1–5). No attempt was made to fit this complex shape into a square, the outer walls being simply a reflection of the shape of the interior.
The vestibule opened into a rectangular courtyard with a long pool running down the center and double colonnades on all four sides. Its floors were paved with fine orchard- and yellow-toned mosaics, hence the term ‘Piazza d’Oro’. The colonnades had half as many columns running down the middle as on the front, an arrangement commonly found in Greek and Hellenistic stores, which would make Piazza d’Oro a candidate for the Stoa Poikile (SHA, Hadrian 26.5).
The suite of rooms at the south end of the peristyle, some of whose white marble Corinthian columns have been re-erected, was architecturally the most significant part of the complex. In the middle was an open courtyard with a fountain the middle, which may be described as octagonal with alternately convex and concave sides when seen from the inside.
One concave side was the entrance and the side opposite opened onto a big semicircular nymphaeum with a boldly curving back wall lined with fountain niches. The convex sides opened onto four intriguingly shaped rooms, each of which terminated in a semicircular exedra.
The other two concave sides led into small open courtyards with fountains in the middle of the floor. The rest of the rooms were vaulted. This complex would have offered vistas of light and shade, as well as the sight and sound of water from almost every direction which cannot fail to have enhanced the effect.
The banqueting room (triclinium), the ‘hippodrome’ and the tower block behind formed a single, axially planned composition (Figure 8.13). The triclinium was more developed in

Figure 8.16 Tibur (Tivoli), Hadrian’s Villa, Piazza d’Oro: plan.
terms of layout than those of those of Nero and Domitian. It was a square room covered with a trabeated ceiling and surrounded on three sides by exedras each with a semicircular garden. On the fourth side was a huge, ornate fountain set in an open rectangular peristyle. The roar and flash of its waters must have made a mighty impression on the diners within.
The idea came from Domitian’s dining room on the Palatine, but here fountains and open courtyards surrounded the diners on all four sides. The decor too was elaborate. The floors were paved with fine polychrome marble (opus sectile) and the walls were encrusted with white Proconnesian marble.
The columns were extraordinarily elaborate, with bases and capitals decorated with spiral, leaf, guilloche, cable, and scroll patterns of tremendous intricacy and precision. Today, after rain, the fragments of these columns glow and sparkle with a sharpness Hadrian must have admired when they were first cut. The ‘hippodrome’ or ‘circus’ lay between the triclinium and the tower block.
Like the ‘hippodrome’ on the Palatine, this was a formal garden, a promenade in the shape of a hippodrome. Access to the tower block was strictly limited to one main staircase from the hippodrome direction. It contains the largest residential rooms of the villa and the only ones with under-floor heating. It also commanded splendid views of Tivoli and the hills behind on one side and to Rome on the other.
The east side of the tower block was taken up by a large rectangular pool, surrounded by a colonnade and supported on all four sides by a cryptoporticus, which was also used as a service corridor. These factors suggest that this was the official (winter) residence block of the villa.
The Small Baths were closer to the main palace than the Large Baths and may have been the emperor’s private bathing suite. The intricacy of the architecture suggests that the emperor himself may have had a hand in their planning of them (Figure 8.17). Their layout

Figure 8.17 Tibur (Tivoli), Hadrian’s Villa, Small Baths: plan.
is tortuous, the result of a laboured attempt to make rooms of ingenious shape fit together into a compact whole. Along the east side was a small palaestra flanked to the west by the frigidarium with two rectilinear and two curved sides covered with a cross-vault. Off the rectilinear sides opened two apsed plunges. From there one passed via the tepidarium into a row of hot rooms facing west.
To the east of these was a large octagonal domed hall from which the smaller bathing rooms opened. The hall was an architectural tour de force in that each alternate side was convex, an irregularity transmitted from the abutting rooms. However, the result is hardly harmonious, especially the transition from convex wall to the dome.
The Large Baths had a more conventional layout and the spaces had greater clarity and better proportions. There was a large palaestra to the east. The cross-vaulted frigidarium, with its semicircular and rectangular plunges must have been particularly impressive (Figure 8.18). The screen in front of the semicircular plunge has now been restored, as well as its two Ionic columns with cipollino shafts which once supported three semicircular arches in the lunette.
To the south of the frigidarium was a heated room whose cross-vault was decorated with extremely delicate stucco reliefs. To the west of the frigidarium was a row of hot rooms including a circular room with big windows facing SW to take advantage of the heat of the afternoon sun.
The Canopus/Serapeum complex may recall buildings the emperor saw during his travels to Egypt (Figure 8.19). The long lake may be based upon the canal from Canopus to Alexandria and the semicircular half-domed Serapeum had a shape similar to the Serapaeum, marked on the Marble Plan of Rome next to the Saepta Julia.14 All around the pool are

Figure 8.18 Tibur (Tivoli), Hadrian’s Villa, Large Baths, frigidarium.

Figure 8.19 Tibur (Tivoli), Hadrian’s Villa, Canopus, and Serapeum: plan.
columns, supporting alternately arches and lintels, in the Syrian fashion (Figure 8.20). The pool was lined with rows of statuary copied from Greek originals, the Amazons, Mars and the Caryatids of the Erechtheum. The half-domed complex is architecturally the most interesting part of the group.
It was built against a steeply sloping hillside, and behind was a barrel-vaulted nymphaeum encrusted with pumice and glass mosaic to imitate a grotto. Water reached the building by an aqueduct from the hill above and fountains must have roared in this passageway much as they do today in the nearby Villa d’Este. The aqueduct parted into

Figure 8.20 Tibur (Tivoli), Hadrian’s Villa, Canopus.
two branches carried on the tops of the walls of the back passageway and around the sides of the dome at the level of its springing. Hadrian himself may have had a hand in designing the dome as it is composed of segments alternately of umbrella and domical section. The entire surface was covered with blue and green glass mosaic.
Under it was a stadium, a large semicircular masonry couch, of a kind that became popular for outdoor entertaining (Pliny the Younger, 5.6.36). In effect it was a triclinium aestivum or summer dining area, accommodating a dozen or more people, where guests could recline in the midst of an aquatic fantasy. Stadia became common indoors from the late second century and onwards and are illustrated in many catacomb frescoes.
Among the peripheral parts of the villa was the so-called Academy, a large open-air building whose ground plan is reminiscent of the octagonal hall of the small bath. There were also three theatres: the ‘Greek theatre’, the ‘Latin theatre’ and the South theatre. There was a Vale of Tempe and Hadrian even provided himself with an underworld, the Inferi, or entrance to the underworld. Finally, mention must be made of the charming circular Doric temple, based upon the Temple of Aphrodite at Cnidos (Figure 8.21).
The last building of Hadrian was a more unhappy project. He personally planned a large temple of Venus and Rome to stand on a piece of high ground between the Colosseum and the Temple of Peace (Figure 8.22). Its scale was enormous, comparable to that of the Temple of Artemis at Ephesus and the Heraeum of Samos. Decastyle and peripteral, it measured 52.5 × 105 meters, making it a perfect double square.
Hadrian planned this in the Greek style with the columns resting not upon a high podium, but on a stylobate, albeit of seven steps, but still comparatively low. This was the cause of the famous quarrel between Hadrian and Apollodorus (Dio, 69.4.3–6). Hadrian was already at odds with Apollodorus even when Trajan was alive because he had told him to ‘go away and draw your pumpkins’, presumably

Figure 8.21 Tibur (Tivoli), Hadrian’s Villa, Temple of Aphrodite.

Figure 8.22 Rome, Temple of Venus and Rome, dedicated ad 135 and rebuilt by Maxentius: plan.
the umbrella domes that Hadrian probably took pleasure in when planning his villa at Tivoli. When Hadrian submitted his drawings of the temple of Venus and Rome to Apollodorus to show that ‘it was possible for a great work to be conceived without his help’ the great architect criticized it on the grounds that it should have been higher up and that a hollow space should have been made beneath it to ‘receive the machines’.
The machines referred to were perhaps the devices and scenery used in the nearby Colosseum. The emperor was so angry he is said to have had Apollodorus executed (Dio, 69.4.1–5). The entablature, of Proconnesian marble, does not survive in its entirety, although Canina reconstructed it from fragments that he says still survived in his day. His drawings show a two-fascia architrave capped by an astragal, ovolo, and cavetto (Figure 8.23).
The frieze is shown as plain and the plain consoles above support a cornice and sima separated by an ovolo. The sima is decorated with palmettes alternating with flame palmettes and lions head spouts. This type of entablature is closely similar to that of the Trajaneum at Pergamum and suggests that Hadrian may have brought in architects from Asia Minor perhaps after his quarrel with Apollodorus.15 This marks the first major break with the orthodox Corinthian order as developed in Rome by the architects of Augustus.
![]()
Two other major monuments in Rome had similar features, both finished after Hadrian’s death. One was the Temple of deified Hadrian in the Campus Martius, begun about ad 138– 140 and dedicated in ad 145. Almost a whole side survives, an imposing feature of Piazza di Pietra (Figure 8.24).
Like the Temple of Venus and Rome, it had a two-fascia architrave and the cornice was supported by plain consoles instead of modillions, but the frieze in this case was pulvinated. The sima had a similar arrangement of palmettes and lions’ head spouts,

Figure 8.23 Rome, Temple of Venus and Rome, entablature: engraving (Canina).

Figure 8.24 Rome, Piazza di Pietra, Temple of Deified Hadrian, dedicated in ad 145.
suggesting that the same architects must have been at work. The last monument to Hadrian was his Mausoleum (Figure 8.25) built along with its bridge, the Pons Aelius, and completed in ad 139. The Mausoleum of Augustus contained the ashes of Marcellus, Agrippa, Octavia, the sister of Augustus, and of course Augustus himself. It was also the burial place of his wife Livia, Tiberius, Caligula, Claudius, and Nerva, the last emperor for whom the mausoleum was opened.
By the time of Hadrian, the Mausoleum of Augustus was full and a new mausoleum was therefore needed. Hadrian’s mausoleum rested upon a square base, 87 × 87 meters × 10 meters high, originally faced with marble, whose architectural details bear the stamp of Pergamene architects.
Above rose the cylindrical superstructure, 64 meters in diameter and 21 meters high constructed of concrete and once faced with Parian marble. Inside, an annular passage climbed a complete circle at a gradient of about 6 degrees up to the tomb chamber, which measured 9 × 8 meters and was exactly in the center of the cylindrical core.
The chamber, lit by light wells obliquely cut in the vault and its side walls, was once veneered in marble and contained three arched niches. Many subsequent emperors including Marcus Aurelius, Lucius Verus, Commodus, Septimius Severus, Julia Domna, Caracalla, and Geta were interred there (Dio, 76.15.4). The top of the mausoleum was covered with earth and crowned by a statue of Hadrian in a four-horse chariot.
The solidity of its construction is attested by the fact that it became the chief place of refuge for medieval Popes from the sixth-century ad, and is now known as Castel S. Angelo. However, for the student of Roman architecture, it is still the Mausoleum of Emperor Hadrian and bears a silent witness to Rome at the height of her power.
After Hadrian great building projects were few and far between in Rome. The reasons are not difficult to seek. Apart from the changing status of Rome within the empire, such

a frenzy of the building had occurred in the capital during the first 150 years of the imperial period and there was little room for new projects. The reign of Antoninus Pius (ad 138–160), conservative but completely confident in the cultural ideals of the Empire, was one of the emperors (starting with Nerva) known as the ‘five good Emperors’.16
He built the Temple of Antoninus and Faustina in the Roman Forum, a rather dull and lifeless building, but using the kind of Asiatic detailing which had become standard building practice in the latter part of Hadrian’s reign. The Column of Antoninus Pius was a plain shaft of pink granite, 14.75 meters high, with a statue of the emperor at the top. It was set up by his sons, Marcus Aurelius and Lucius Verus in ad 161 at the edge of Monte Citorio.
Its marble base, showing the Apotheosis of Antoninus and Faustina, in the Vatican Museum since 1787, has been described as an example of ‘inflated and pompous official sculpture’.17 The fact is that the Classical orders had little relevance when it came to purely functional projects like the Markets of Trajan or the insulae of Ostia. Just as the Temple of Antoninus and Faustina was a monument to the past, so the markets and the insulae pointed to the future.
More telling still is the sculpture of the Column of Marcus Aurelius compared to that of Trajan. There were two fewer windings on the sculpted scroll and the relief was higher and thus more visible from below. Also, the pedestal was higher, making the monument as a whole taller. Whereas Trajan’s Column recorded the exact details of the campaign, the Column of Marcus Aurelius was more concerned with the horror and sufferings of war.
More alarmingly, by the end of the second-century ad, Rome’s status was being gradually eroded away until soon it became just one of many prosperous cities vying for imperial patronage. In addition, the days of the great campaigns, which had brought in masses of slaves and booty, were over. Never again was Rome to have such opportunities for large-scale looting as she had enjoyed during the late Republic and early Empire.
Trajan’s Dacian campaign, which financed his Forum/Markets complex, was Rome’s last great haul. It was so great that the money lasted throughout Hadrian’s reign and provided the apparently limitless resources to build the Pantheon and his architectural extravaganza near Tivoli. With the death of Marcus Aurelius the ‘Golden Age of the Roman Empire’ drew to a close. The phase known as the Late Empire had begun.
